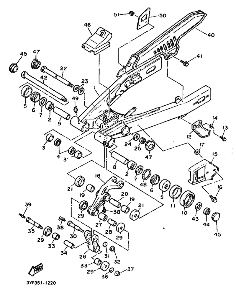
Modeled after the original part number 3LD-2219X-01 (45 in schematic). I printed mine in TPU and it fits well without glue. Step file is uploaded to adapt size and tolerance.

Image source: https://yam-shop.de/Yamaha-Genuine-Ersatzteile
The author marked this model as their own original creation.